
Sang-Gyu Yoon1·Seoyeon Han2·Haewook Kim2·Ihn-Sil Kwak3·Jinsung An1,2*
1Department of Smart City Engineering, Hanyang University, Ansan 15588, South Korea
2Department of Civil and Environmental Engineering, Hanyang University, Ansan 15588, South Korea
3Department of Ocean Integrated Science, Chonnam National University, Yeosu 59626, South Korea
윤상규1·한서연2·김해욱2·곽인실3·안진성1,2*
1한양대학교 ERICA 스마트시티공학과
2한양대학교 ERICA 건설환경공학과
3전남대학교 해양융합과학과
This article is an open access article distributed under the terms of the Creative Commons Attribution Non-Commercial License (http://creativecommons.org/licenses/by-nc/4.0) which permits unrestricted non-commercial use, distribution, and reproduction in any medium, provided the original work is properly cited.
The phenomenon of sediment resuspension in rivers and lakes causes contaminants (heavy metals and nutrients) accumulated in the sediment to leach into the overlying water. As a result, it can lead to changes in toxic effects and eutrophication in the aquatic ecosystem. In this regard, it is important to quantitatively determine the amount of contaminants leached during sediment resuspension. In this study, methods for assessing the amount of released contaminants and the types of contaminants potentially released due to sediment resuspension were studied and summarized. Methods for assessing leaching can be divided into three groups based on the principle of causing resuspension: (i) the oscillating grid chamber method, (ii) the mechanical stirrer method, and (iii) the shaker method. It was confirmed that the types of contaminants that can potentially be released include heavy metals bound to sulfides, as well as exchangeable and labile forms of heavy metals and nutrients. To effectively manage stable aquatic ecosystems in the future, a simplified leaching test method is needed to assess in advance the risks (i.e., changes in toxic effects and eutrophication) that sediment resuspension may pose to aquatic ecosystems.
Keywords: Sediment resuspension, Sediment-Water interface, Ecological risk assessment, Ecotoxicity, Leaching test
하천 및 호소 내 퇴적물은 오염물질(e.g., 중금속 및 영양염류(N, P))의 저장소 및 공급원으로 알려져 있다(Cai et al., 2019; Wang et al., 2018; Yang et al., 2020; Zhang et al., 2014). 점·비점오염원(폐수 배출, 농업 유출수, 빗물 유입, 대기 침적(atmospheric deposition), 토양 침식(soil erosion))으로부터 하천 및 호소로 유입된 오염물질은 흡착, 침전, 응집 등의 과정을 통해 퇴적물에 축적될 수 있으며(Smith et al., 2020; Wang et al., 2018; Zhang et al., 2022a), 퇴적물의 물리·화학적 특성(e.g., pH, 산화환원전위)의 변화에 따라 탈착, 치환(substitution), 용해 등의 과정을 통해 상층수(overlying water)로 용출될 수 있다(Cai et al., 2019; Yang et al., 2020; Zhang et al., 2014). 퇴적물 내 축적된 오염물질의 상층수로의 용출은 하천 및 호소의 수질 악화와 함께 수생태계에 대한 부정적 영향(i.e., 생태독성 및 부영양화)을 야기할 수 있으므로 안정적인 수생태계의 관리를 위해서는 상층수로 용출되는 오염물질의 양을 정량적으로 파악하는 것이 중요하다.
퇴적물 내 축적된 오염물질의 상층수로의 용출에 영향을 미치는 주요 요인은 하천 및 호소에서 일어나는 퇴적물 재부유(sediment resuspension) 현상이다(Chung et al., 2009; Tang et al., 2020; Zhu et al., 2014). 퇴적물 재부유는 바람과 같은 자연적 요인뿐만 아니라 준설 활동과 같은 인위적 요인에 의해 퇴적물-물 계면(sediment-water interface)에서 발생한 난류의 전단응력(shear stress)이 퇴적물의 임계전단응력(critical shear stress)보다 높을 때 발생한다(Chanpiwat et al., 2023; Evans., 1994; Orlins and Gulliver, 2003; Tang et al., 2020; Yin et al., 2016). Fan et al.(2001)은 퇴적물 재부유에 따른 퇴적물 내 P의 용출량이 재부유가 일어나지 않은 경우에 비해 약 10배 더 높다고 보고한 바 있으며, Reddy et al.(1996)은 퇴적물 재부유로 인해 상층수 내 암모니아 농도가 약 10배 증가했음을 확인한 바 있다. 또한 Liu et al.(2023)은 퇴적물 재부유로 인해 상층수로 용출된 중금속(Cr, Cu, Pb, Zn)의 농도가 퇴적물 재부유가 일어나지 않은 경우에 비해 최대 3배 더 높게 나타남을 확인한 바 있다. 이러한 결과들은 퇴적물 재부유가 하천 및 호소 상층수 내 오염물질 농도의 급격한 변화를 야기할 수 있음을 나타낸다.
퇴적물 재부유에 따른 오염물질 용출량 평가 연구는 많은 연구자들에 의해 보고된 바 있으며(Bao et al., 2023; Chanpiwat et al., 2023; Chen et al., 2019; Dapeng et al., 2011), 이를 위해 다양한 용출량 평가기법(e.g., oscilla- ting grid chamber, mechanical stirrer, shaker)들이 활용되고 있으나, 이들에 대한 포괄적인 정리는 수행된 바 없다. 따라서 본 연구에서는 하천 및 호소에서 일어나는 퇴적물 재부유에 따른 오염물질의 용출량을 평가하기 위한 다양한 평가기법들을 조사했다. 또한, 퇴적물 재부유에 따라 잠재적으로 용출가능한 오염물질의 존재형태에 대한 이해를 바탕으로, 이를 정량화 및 추정할 수 있는 용출시험법을 검토했다. 본 연구결과는 퇴적물 재부유에 따른 퇴적물-물 계면에서의 오염물질의 용출량을 평가하는 경우, 합리적인 평가기법을 선정하기 위한 기초자료로 활용할 수 있을 것으로 기대된다.
퇴적물로부터 상층수로 용출되는 중금속 및 영양염류의 양을 평가하기 위해 oscillating grid chamber, mechani- cal stirrer 및 shaker를 이용한 방법이 활용되고 있다. Oscillating grid chamber는 oscillating grid의 수직운동을 통해 상층수에 형성된 난류를 활용하여 퇴적물의 재부유를 유발시키는 평가기법이며, mechanical stirrer는 프로펠러 및 블레이드의 회전력을 통해 형성된 난류를 통해 상층수를 교란시켜 재부유를 유발하는 방식의 평가기법이다. Shaker는 퇴적물과 상층수를 완전혼합하는 방식을 활용하여 재부유를 모사하는 평가기법이다. 퇴적물의 재부유를 유발하는 방식에 따라 각 기법들을 구분했고, 각각의 구성요소를 Table 1에 나타냈다.
2.1. Oscillating grid chamber를 활용한 용출량 평가기법
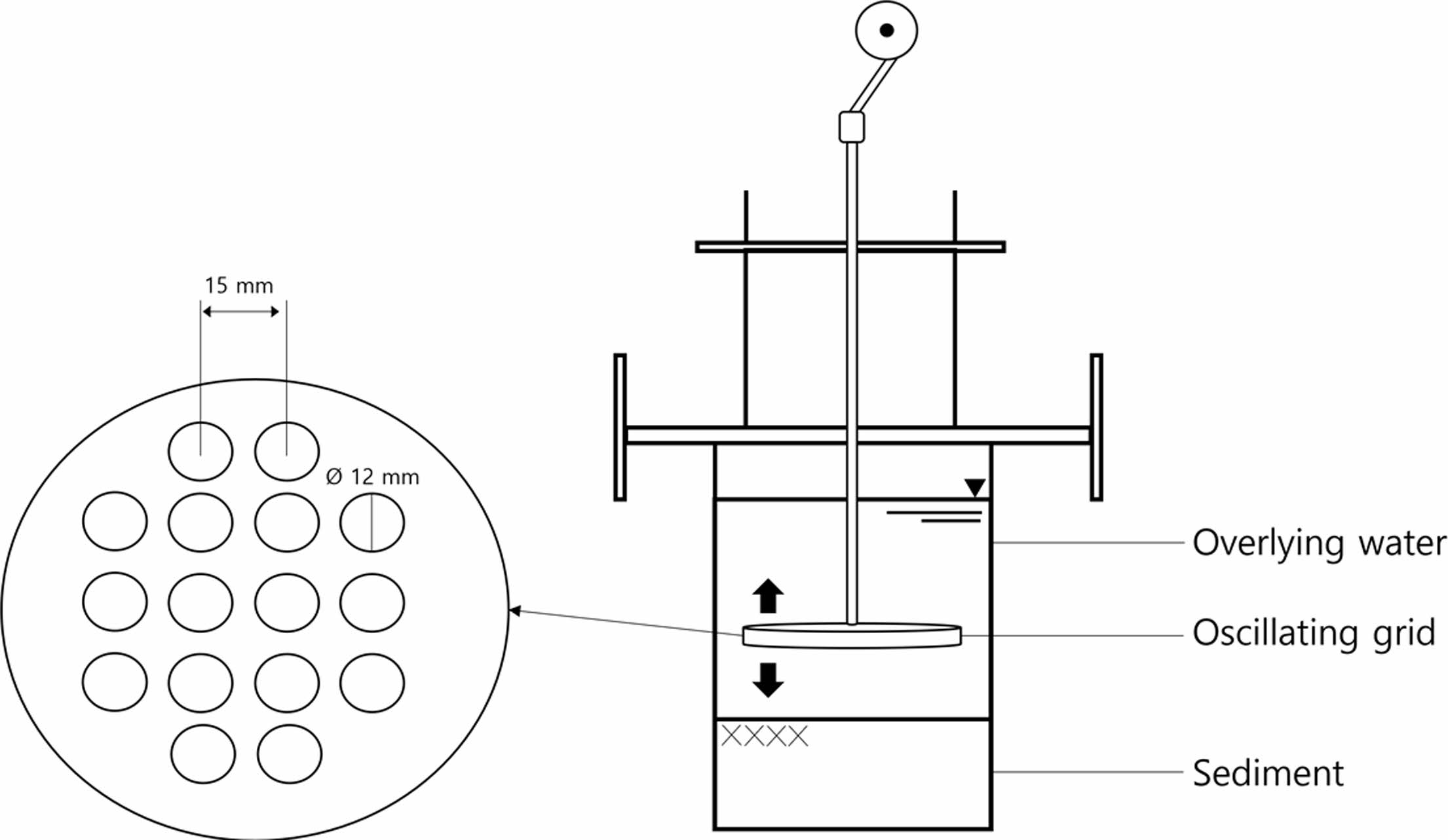
Oscillating grid chamber는 oscillating grid의 수직 운동을 통해 형성된 균일한 난류를 퇴적물-물 경계면까지 침투시켜 퇴적물의 재부유를 유발시키는 장치이다(Fig. 1) (Tsai and Lick, 1986). 난류에 의해 재부유되는 부유 퇴적물의 농도는 oscillating grid의 진동 크기(전단응력)에 비례하며, 수직운동 속도의 조절을 통해 변화시킬 수 있다(Cantwell and Burgess, 2004; Orlins and Gulliver, 2003; Wang et al., 2013). Oscillating grid chamber는 퇴적물 재부유시 부유 퇴적물의 농도와 이동성을 측정하기 위한 목적으로 개발되었으나, 퇴적물 재부유에 따른 중금속의 용출량 평가 시에도 40% 미만의 변동계수 내에서 용출된 중금속의 양을 평가할 수 있음이 보고된 바 있어, 퇴적물 재부유에 따른 중금속 용출량 평가에 oscillating grid chamber가 유용하게 활용되고 있다(Cantwell et al., 2002; Cantwell and Burgess, 2004; Cantwell et al., 2008).
Shi and Zhang(2018)은 퇴적물 재부유로 인한 상층수로의 중금속(Cd, Cu) 용출량을 평가하기 위해 Jiangxi 강 중류 퇴적물 및 oscillating grid chamber를 활용하여 15일간의 중금속 용출량 평가를 수행한 바 있으며, 15일 후 퇴적물 재부유로 인한 상층수 내 Cd 및 Cu의 농도가 초기 상층수 내 Cd 및 Cu 농도에 비해 증가함을 확인한 바 있다(초기 상층수 내 Cd 및 Cu의 농도는 검출한계 미만이며, 15일 후 상층수 내 Cd 및 Cu의 농도는 각각 0.74 μg/L 및 46.6 μg/L로 나타났다.). Mahamod et al. (2016)은 퇴적물 재부유에 의해 상층수로 용출되는 중금속(Cd, Zn, Pb)의 양을 조사하기 위해 oscillating grid chamber를 활용한 3 h 동안의 재부유 실험을 수행한 바 있다. Cd의 경우 초기 약 0.034 mg/L 에서 3 h 후 상층수 내 Cd 농도가 약 0.139 mg/L으로 증가, Zn의 경우 초기 약 0.014 mg/L에서 3 h 후 약 0.071 mg/L 증가했으며, Pb의 경우에도 초기 약 0.007 mg/L에서 3 h 후 약 0.029 mg/L로 증가함을 확인하여, 퇴적물 재부유로 인해 상층수 내 Cd, Zn, Pb의 농도가 증가했음을 확인한 바 있다. Hwang et al.(2011)은 낙동강 하류의 구포지점에서 채취한 퇴적물 및 oscillating grid chamber를 활용하여, 퇴적물 재부유에 따른 중금속(Ni, Cu, Zn, Cd, Pb) 용출량을 평가한 바 있다. 초기 상층수 내 중금속의 농도는 모두 검출한계 미만으로 나타났으며, 96 h 후 상층수 내 Ni, Cu, Zn, Cd, Pb의 용출량은 각각 31.1, 15.3, 155, 8.51, 5.27 μg/L로, 퇴적물 재부유에 따라 퇴적물 내 존재하던 중금속 총 농도의 0.057% ~ 4.0%가 상층수로 용출됨을 확인한 바 있다(퇴적물 내 중금속의 총 농도는 Ni, Cu, Zn, Cd, Pb 각각 62.2, 41.5, 276, 10.3, 29.8 mg/kg으로 나타났다.).
2.2. Mechnical stirrer를 활용한 용출량 평가기법
Mechanical stirrer는 프로펠러 또는 블레이드의 회전력을 통해 상층수를 교반시켜 퇴적물의 재부유를 유발하는 방식이다. Mechanical stirrer 기반 오염물질 용출량 평가 장치의 예시로써 erosion chamber가 있다(Fig. 2) (Kalnejais et al., 2010). Erosion chamber는 erosion chamber에 장착된 프로펠러를 통해 강바닥에서 관찰되는 전형적인 난류와 유사한 난류를 형성하며, 형성된 난류의 전단응력은 프로펠러의 회전속도에 비례한다(Kalnejais et al., 2010; Tolhurst et al., 2000). 또한 erosion chamber 내벽에 설치된 baffles는 프로펠러를 통한 상층수의 교반 시 상층수의 full body rotation을 억제하는 역할을 한다(Kalnejais et al., 2010).
Chao et al.(2017)은 바람에 의한 퇴적물 재부유 조건을 모사하여 퇴적물 내 P의 용출량을 평가하기 위해 Taihu 호수 퇴적물과 mechanical stirrer(80 rpm)를 이용한 재부유 실험을 수행한 바 있으며, 15일 후 상층수 내 총 P 농도가 초기 0.085 mg/L에서 0.376 mg/L로 증가함을 확인한 바 있다. Wu et al.(2020)은 퇴적물 재부유가 퇴적물 내 영양염류(N, P)의 용출에 미치는 영향을 조사하기 위해 mechanical stirrer를 이용하여 2 h 동안의 퇴적물 재부유 실험을 수행한 바 있으며, 퇴적물 재부유로 인해 상층수 내 용존 무기질소(NO3--N + NO2--N + NH4+-N) 및 용존 무기인(PO33--P)의 농도가 퇴적물 재부유 전보다 각각 5.2배, 10.5배 증가함을 확인했다. Cervi et al.(2019)은 퇴적물 재부유에 따른 Pedreira pumping station 및 Capivari river(Billings reservoir) 퇴적물 내 금속(Fe, Mn, Zn)의 상층수로의 용출량을 평가하기 위해 mecha- nical stirrer를 활용한 4 h 동안의 재부유 실험을 수행한 바 있다. Pedreira pumping station의 경우, 상층수 내 Fe 농도는 초기 약 1.03 mg/L에서 30 min 후 약 1.25 mg/L로 증가하다 4 h 후 약 0.5 mg/L를 나타냈으며, 이는 퇴적물 재부유로 인해 용출된 Fe의 산화로 인한 Fe oxides 형성의 영향으로 추정한 바 있다. Mn은 초기 약 413.56 mg/L에서 30 min 후 약 429.26 mg/L, 4 h 후 약 604.53 mg/L로 증가했으며, Zn은 초기 166.16 mg/L에서 30 min 후 약 332.35 mg/L, 4 h 후 약 364.80 mg/L를 나타냈다. Capivari river의 경우, 상층수 내 Fe 농도는 초기 약 0.21 mg/L에서 4 h 후 0.1 mg/L, Mn은 초기 약 277.6 mg/L에서 4 h 후 약 518.66 mg/L, Zn은 초기 약 161.97 mg/L에서 4 h 후 약 189.59 mg/L로 나타났다. Kang et al.(2021)은 퇴적물 재부유로 인한 퇴적물 내 금속(Mn, Fe, Ni, Cu, Zn, Pb)의 용출량을 조사하기 위해 안양천 하류 지점(P9)의 퇴적물과 mechanical stirrer(150 rpm)를 활용하여 24 h 동안 연속적인 재부유 실험을 수행한 바 있으며, 24 h 후 퇴적물 재부유로 인해 퇴적물로부터 상층수로 용출된 금속의 농도는 Mn, Fe, Ni, Cu, Zn, Pb 각각 6.58, 546.08, 18.28, 3.84, 7.98, 1.5 mg/kg으로 나타났다(mg/kg 단위로 환산한 농도). 초기 안양천 하류 지점 퇴적물 내 중금속의 총 농도는 Mn, Fe, Ni, Cu, Zn, Pb 각각 27.02, 1,518.03, 30.13, 4.41, 30.13, 6.59 mg/kg으로, 퇴적물 내 금속의 총 농도 대비 각각 24.4, 36.0, 60.7, 87.1, 26.5, 22.8%의 중금속이 상층수로 용출되었으며, 퇴적물 재부유가 상층수로의 금속 용출량을 증가시킬 수 있음을 확인한 바 있다.
2.3. Shaker를 활용한 용출량 평가기법
대부분의 자연 기원의 재부유 현상은 퇴적물의 표층(0-2 cm)에 영향을 미친다고 알려져 있다(Dang et al., 2020). Oscillating grid 및 프로펠러를 활용하여 형성된 난류를 통해 표층 퇴적물의 재부유를 유발시키는 oscilla- ting grid chamber 및 mechanical stirrer 평가기법과 다르게 shaker를 이용한 퇴적물 재부유는 퇴적물과 상층수의 완전혼합을 통해 재부유 현상을 모사하는 평가기법이므로, 목적에 따라서는 과대한 재부유량을 산출할 개연성이 있다. Shaker를 이용한 오염물질 용출량 평가기법은 주로 준설에 의해 발생한 퇴적물 재부유로 인해 상층수로 용출되는 오염물질의 양을 평가하는데 사용된다(Caetano, 2003; Chanpiwat, 2023). Shaker 기반의 오염물질 용출량 평가에는 end-over-end shaker, horizontal shaker 등을 활용하고 있으며(Dang et al., 2020; Chanpiwat, 2023), shaker 기반 오염물질 용출량 평가 장치의 예시로써 end-over-end shaker가 있다(Fig. 3). Xie et al.(2019)은 퇴적물 재부유에 따른 Zn의 상층수로의 용출량을 확인하기 위해 250 mL의 HDPE 병에 2.5 g의 퇴적물과 100 mL의 상층수를 첨가한 후 shaker를 이용하여 275 rpm으로 326 h 동안 재부유 실험을 수행한 바 있다. 그 결과 초기 상층수 내 Zn의 농도는 약 0.29 μM에서 326 h 후 약 166.06 μM로 증가함을 확인한 바 있다. Dang et al. (2020)은 퇴적물 재부유에 의한 Cu 및 Pb의 용출량을 확인하기 위해 3가지 퇴적물(station 3, 12, 15)을 활용하여 2 L의 병에 1 g/L의 고액비의 퇴적물과 상층수를 첨가한 후 672 h 동안 end-over-end shaker(15 rpm)을 이용하여 퇴적물 재부유 실험을 수행한 바 있다. 상층수 내 Cu의 경우 station 3, 12, 15 각각 초기 약 56, 59, 47 nM에서 672 h 이후 약 104, 90, 71 nM로 상승함을 확인했으며, Pb의 경우 station 3, 12, 15 각각 초기 약 1.77, 1.75, 1.15 nM에서 672 h 이후 약 5.37, 3.75, 3 nM로 상승함을 확인했다. Wang et al.(2009)은 퇴적물 재부유로 인한 네 가지 호수 퇴적물(Yue Lake, Wuli Lake, Gonghu Lake, East Taihu Lake) 내 dissolved total phosphorus(DTP), soluble reactive phosphorus(SRP), dissolved organic pho- sphorus(DOP)의 상층수로의 용출량을 확인하기 위해 0.5 g의 퇴적물과 호수 상층수 모사액(0.02 M KCl) 50 mL을 100 mL의 conical tube에 첨가한 후 orbital shaker(200 rpm)을 활용한 60 h 동안의 재부유 실험을 수행한 바 있다. 퇴적물로부터 상층수로 용출된 DTP 농도(mg/kg 단위로 환산된 농도)의 경우 Yue Lake, Wuli Lake, Gonghu Lake, East Taihu Lake 각각 초기 약 12.09, 6.36, 1.50, 1.28 mg/kg에서, 60 h 후 약 21.06, 6.36, 1.99, 2.04 mg/kg으로 증가했다. SRP의 경우 초기 약 8.38, 4.45, 0.39, 0.59 mg/kg에서 60 h 후 약 15.71, 7.93, 0.81, 1.14 mg/kg으로 증가했으며, DOP의 경우 초기 약 3.12, 1.91, 1.18, 0.85 mg/kg에서 60 h 후 약 5.42, 2.72, 1.21, 0.90 mg/kg으로 증가함을 확인한 바 있다. Chanpiwat et al. (2023)은 준설 활동에 따른 재부유로 인한 퇴적물 내 Pb의 상층수로의 용출량을 평가하기 위해 1 L 폴리에틸렌 용기에 20 g(건조중량)의 퇴적물과 800 mL의 상층수를 첨가한 후 continuous horizontal shaking chamber를 이용하여 교반했다. 그 결과 퇴적물 재부유로 인한 퇴적물에서 상층수로의 Pb의 용출량은 약 14.5~16.9 μg/L로 확인된 바 있다.
|
Fig. 1 Schematic diagram of oscillating grid chamber (Tsai and Lick, 1986). |
|
Fig. 2 Schematic diagram of erosion chamber as a representative of using mechanical stirrer for assessing sediment resuspension (Kalnejais et al., 2010). |
|
Fig. 3 Schematic diagram of end-over-end shaker as a representative of using shaker for assessing sediment resuspension. |
|
Table 1 Components of various evaluation techniques to simulate sediment resuspension |
3.1. 황화물에 결합된 중금속
일반적으로 무산소 조건의 퇴적물 내 2가 금속(Me2+)은 황화물(sulfide), 특히 산 휘발성 황화물(acid volatile sulfides)과의 결합을 통해 불용성의 금속 황화물을 형성할 수 있으며, 금속 황화물은 무산소 조건의 퇴적물 내 중금속의 주된 존재형태로 간주된다(Hwang et al., 2011). 그러나 금속 황화물은 퇴적물 내 산소와 반응하여 산화 용해(oxidative dissolution)가 일어날 수 있으며(Eq. (1)), 이는 황화물과 결합되어 있던 금속의 이동성을 증가시키는 것으로 알려져 있다(Xie at al., 2019; Zhang et al., 2022a). 퇴적물 내 산 휘발성 황화물 및 동시 추출가능한 중금속(simultaneously extracted metals)의 분석방법에는 6M HCl을 활용한 방법이 있으며, 이는 추출액(6M HCl)과 금속 황화물 반응을 통해 형성된 H2S를 N2 purging을 통해 0.5M NaOH 용액에 포집하고 추출액 내 함유된 중금속의 농도를 분석하여 퇴적물 내 금속황화물에 결합된 중금속의 양을 확인할 수 있는 방법이다(Table 2) (Allen et al., 1993; Prica et al., 2008).

퇴적물 재부유는 일반적으로 무산소 조건의 퇴적물과 상층수의 혼합을 유발하고 퇴적물 내 산소의 유입을 일으킨다(Dapeng et al., 2011; Gibson et al., 2015). 따라서, 퇴적물 재부유로 인한 퇴적물 내 금속산화물의 산화는 상층수로의 중금속 용출을 야기할 수 있다. Simpson et al. (1998)은 퇴적물 재부유에 따른 무산소조건의 퇴적물과 산소가 함유된 상층수의 혼합이 퇴적물 내 금속 황화물의 산화에 미치는 영향에 대해 확인하기 위한 재부유 실험을 수행한 바 있다. 퇴적물 내 50mM의 Na2S용액 5mL 및 100mM의 금속(Cd, Cu, Fe, Mn, Ni, Pb)용액 2.5 mL을 첨가하여 인위적으로 퇴적물 내 CdS, CuS, FeS, MnS, NiS, PbS 및 ZnS를 형성시킨 후(각각 250μmol의 금속 황화물이 형성됨) 8h의 재부유 실험을 수행했으며, 8h 후 퇴적물 내 FeS 및 MnS는 대부분이 산화됐으며, CdS, CuS, NiS, PbS, ZnS는 각각 약 25, 15, 40, 44, 9%가 산화된 것으로 확인된 바 있다. Xie at al.(2019)는 퇴적물 재부유가 퇴적물 내 Zn의 용출 및 종분화(speciation)에 미치는 영향을 확인한 바 있다. 그 결과 퇴적물 재부유는 120시간 이내에 퇴적물 내 약 85%의 ZnS의 산화를 유발하고 상층수 내 sulfate 및 Zn의 농도를 증가시킴을 확인한 바 있다. 또한, ZnS의 산화로 인해 공극수로 용출된 Zn의 약 15%가 상층수로 용출되었으며, 나머지 Zn은 탄산염 및 산소 유입으로 인해 형성된 비결정형 철산화물인 ferrihydrite에 결합된 형태로 존재함을 확인한 바 있다. Xie et al.(2016)은 퇴적물 재부유 현상에 따른 Piscataqua 강 하구 퇴적물 내 Cu의 용출특성을 평가하기 위해 입자크기가 상이한 두 종류의 퇴적물(A 퇴적물 입자의 중간값(median size; d50)은 150μm이며, B 퇴적물 입자의 중간값은 60μm이다.)을 이용한 14일간의 재부유 실험(1일차와 8일차에 4h 동안 퇴적물의 재부유를 유발시켰다.)을 수행한 바 있다. 그 결과, A 퇴적물의 경우 상층수 내 Cu의 농도는 초기 3nM에서 140nM로 증가했고, B 퇴적물의 경우 초기 15nM 미만에서 14일 후 50nM로 증가함을 확인했다. 이는 퇴적물 재부유로 인한 상층수로부터 퇴적물로의 산소 확산 및 유입이 표면 퇴적물 내 산 휘발성 황화물을 산화시키고 Cu의 용출을 촉진했을 것이라 추정한 바 있다. 또한, A 퇴적물에 비해 입자크기가 작은 B 퇴적물의 경우 상층수로 용출된 Cu의 농도가 A 퇴적물에 비해 낮았으며, 이는 퇴적물의 입자 크기가 작을수록 재부유로 인한 퇴적물 내 산소의 유입 및 확산이 퇴적물 입자 크기가 큰 경우에 비해 제한될 수 있기 때문에 산 휘발성 황화물의 산화가 A 퇴적물에 비해 덜 일어났을 것으로 추정한 바 있다.
3.2. 교환가능한·불안정한 형태의 중금속 및 영양염류
퇴적물 재부유 시 퇴적물 입자와 상층수 사이의 금속 및 영양염류의 분포는 탈착-흡착 및 용해-침전과 같은 화학 반응의 영향을 받으며, 퇴적물 입자로부터 탈착 가능한 금속 및 영양염류는 퇴적물 재부유로 인해 상층수로 용출되는 금속 및 영양염류의 주요 공급원 중 하나이다(Martino et al., 2002; Monnin et al., 2018; Morin and Morse, 1999). 상층수 내 다양한 이온(e.g., Ca2+, Na+)들은 상층수로 부유된 퇴적물 입자와 흡착되어 있던 금속과 경쟁할 수 있으며, 퇴적물 입자로부터의 금속 및 영양염류의 탈착은 퇴적물 재부유로 인한 하천 및 호소 내 pH 및 산화환원전위의 변화에 영향을 받을 수 있다(Martino et al., 2002; Monnin et al., 2018).
퇴적물 재부유 현상 동안 용출될 수 있는 용해된 중금속 및 영양염류의 양은 확산에 의해 지속적으로 이동할 수 있는 퇴적물 공극수 내 중금속 및 영양염류의 양보다 많으며 재부유는 퇴적물 입자와 결합된 중금속 및 영양염류를 상층수로 용출하는 것을 촉진할 수 있다고 알려져 있다(Supervill et al., 2014; Monnin et al., 2018). Morin and Morse(1999)은 퇴적물 재부유로 인해 퇴적물에서 상층수로 용출되는 NH4+의 2/3가 퇴적물 공극수 내 용해된 NH4+의 상층수로의 용출이 아닌 점토광물에 느슨하게 결합된 교환가능한(exchangeable) NH4+의 용출임을 확인한 바 있다. Shi and Zhang(2018)은 퇴적물 재부유로 인해 퇴적물 입자와 약하게 결합된 Cd 및 Cu가 상층수로 용출될 수 있다고 보고한 바 있다. Zhang et al.(2020) 및 Chen et al.(2020)은 퇴적물 내 불안정한(labile) P가 퇴적물 재부유에 의해 상층수로 용출될 수 있는 주요 공급원이라 추정한 바 있다. Sndergaard et al.(1992)은 Arres 호수의 내부 P 부하에 대한 재부유의 영향을 조사하였으며, 퇴적물 재부유로 인해 soluble reactive P(SRP) (교환가능한 P)의 용출이 20-30배 향상될 수 있음을 확인한 바 있다. Pardo et al.(1990) 및 Sundaray et al.(2011)은 Mg2+ 및 NH4+와 같은 다양한 이온이 존재하는 경우 퇴적물에 결합된 교환가능한 형태의 금속은 다양한 이온들과 교환되어 상층수로 용출될 가능성이 있음을 보고한 바 있다. Kang et al.(2019)은 퇴적물 재부유시 퇴적물 내 산소의 유입이 제한적인 조건 즉, 상층수가 무산소조건인 경우에도 퇴적물 입자와 결합되어 있는 교환가능한 형태의 금속은 퇴적물 내 NH4+로 대체된 후 상층수로 용출될 수 있음을 보고한 바 있다. 따라서, 퇴적물 내 교환가능한, 불안정한 형태의 중금속 및 영양염류는 퇴적물 재부유로 인해 상층수로 용출가능한 중금속 및 영양염류의 주요 존재형태일 수 있을 것으로 추정된다.
전술한 바와 같이 퇴적물 재부유로 인해 퇴적물로부터 상층수로 용출될 수 있을 것으로 추정되는 교환가능한·불안정한 중금속 및 영양염류의 추출방법에는 1M KCl, 0.1M HCl, 0.11M acetic acid, 0.5M MgCl2 및 0.05 M NaHCO3을 활용하고 있다. 1M KCl을 활용한 추출방법은 퇴적물 입자와 결합된 교환가능한 NH4+를 분석하는 방법으로, 이는 1M KCl을 통해 퇴적물 입자에 결합되어 있는 교환가능한 NH4+를 탈착시킨 후 1M KCl 용액 내 존재하는 탈착된 NH4+를 비색법을 통해 분석하는 방법이다(Bremner and Keeney, 1966; Cornwell and Owens, 2011; Kachurina et al., 2000; ISO/TS 14256-1: 2003). 0.1M HCl을 활용한 추출방법은 퇴적물 내 잠재적으로 이용가능한 불안정한 형태의 중금속의 추출 방법이며(Barreto et al., 2004), 0.11M acetic acid, 0.5M MgCl2 (pH 7) 및 0.05M NH4H2PO4를 활용한 추출방법은 각각 European community bureau of feference(BCR) (Rauret., 1998; Sungur et al., 2014; Zhang et al., 2022b), Tessier et al.(1979) 및 Wenzel et al.(2001)이 제시한 퇴적물 및 토양 내 교환가능한 형태로 존재하는 중금속의 추출 방법이다. 또한, 0.5M NaHCO3(pH 8.5)을 활용한 추출방법은 퇴적물 내 불안정한 P(교환가능한 P 분획)를 추출하는 방법으로 활용되고 있다(Hedley et al.,1982; Olsen., 1954; Zhu et al., 2013). 퇴적물 재부유에 따라 잠재적으로 용출될 가능성이 있다고 추정되는 퇴적물 내 중금속 및 영양염류의 존재형태 별 추출방법은 Table 2에 나타냈다.
|
Table 2 Leaching test methods for heavy metals and nutrients potentially leached by sediment resuspension |
본 연구에서는 퇴적물 재부유에 따른 중금속 및 영양염류 용출량 평가기법 및 퇴적물 재부유에 따라 잠재적으로 용출가능한 중금속 및 영양염류의 퇴적물 내 존재형태에 대해 조사했다. 용출량 평가기법은 재부유를 일으키는 원리에 따라 oscillating grid chamber, mechanical stirrer 및 shaker로 구분했다. Oscillating grid chamber는 oscilla- ting grid의 수직운동에 의해 상층수에 형성된 난류를 통해 재부유를 일으키며, mechanical stirrer는 프로펠러 및 블레이드 등의 회전력을 통해 강바닥에서 일어나는 일반적인 난류와 유사한 난류를 형성하고 이를 통해 상층수를 교란시켜 재부유를 일으킨다. 또한, shaker의 경우 주로 준설활동에 따른 퇴적물 재부유 현상을 모사하기 위해 활용되고 있으며, 퇴적물과 상층수를 완전 혼합하여 용출량을 평가하므로 자연현상에 의해 일어나는 퇴적물 재부유에 따른 중금속 및 영양염류 용출량의 평가에 있어서는 다소 과대한 결과가 산출될 개연성이 있다. 따라서 재부유 발생 원리에 따라 퇴적물 재부유 평가기법을 달리하여 중금속 및 영양염류 용출량 평가를 수행할 필요성이 있다. 전술한 퇴적물 재부유에 따른 중금속 및 영양염류 용출량 평가기법들은 자연적/인위적으로 일어나는 퇴적물 재부유 현상을 모사하며, 일반적으로 무산소 조건의 퇴적물과 상층수의 혼합을 통한 퇴적물 내 산소의 유입을 유발한다. 이로 인한 퇴적물 입자와 중금속 및 영양염류간 일어나는 화학반응(탈착-흡착 및 용해-침전 등)은 퇴적물 재부유로 인해 상층수로 용출 가능하다고 추정되는 퇴적물 내 중금속 및 영양염류의 주요 존재형태인 황화물에 결합된 중금속과 교환가능한·불안정한 형태의 중금속 및 영양염류의 용출을 유발할 수 있다. 기존의 용출량 평가기법들은 이를 확인하기 위한 사전 준비 및 평가 시, 장치의 제작, 현장 조건의 분석, 상층수로 용출된 오염물질의 평형농도 확인을 위한 시간 별 시료 채취 및 분석 등 많은 과정을 필요로 한다는 한계점이 있으므로, 퇴적물 재부유에 따라 잠재적으로 용출가능한 중금속 및 오염물질이 수생태계에 미칠 수 있는 위험(e.g., 독성영향 변화 및 부영양화)을 사전에 평가하고 스크리닝할 수 있는 간편화된 용출시험법이 필요하다.
This work was supported by the Korea Environ- mental Industry & Technology Institute (KEITI) through the Aquatic Ecosystem Conservation Research Program, funded by the Korea Ministry of Environment (MOE) (2021003050001).
This Article2023; 28(5): 1-11
Published on Oct 31, 2023
Services1.서 론
2.퇴적물 재부유에 따른 중금속 및 영양염류 용출량 평가기법
3.퇴적물 재부유에 따라 잠재적으로 용출가능한 중금속과 영양염류의 존재형태 및 추출방법
4.결론 및 제언
Correspondence to1Department of Smart City Engineering, Hanyang University, Ansan 15588, South Korea
2Department of Civil and Environmental Engineering, Hanyang University, Ansan 15588, South Korea