
Won-Young Choi1, Young-Kyu Kim1, Chul Hee Lee2, Yong Jae Lee2, Seung-Kyu Chun*
1Department of Energy and Chemical Engineering, Graduate School of Convergence Sciences,
Seoul National University of Science & Technology, Seoul 01811, Korea 2Asia Geo, Gyeonggi-Do 17006, Korea
*Department of Chemical and Biomolecularl Engineering, Seoul National University of Science & Technology, Seoul 01811, Korea
최원영1·김영규1·이철희2·이용재2·천승규*
1서울과학기술대학교 융합과학대학원 에너지화학공학과, 2(주)아시아지오,
*서울과학기술대학교 화공생명공학과
This article is an open access article distributed under the terms of the Creative Commons Attribution Non-Commercial License (http://creativecommons.org/licenses/by-nc/4.0) which permits unrestricted non-commercial use, distribution, and reproduction in any medium, provided the original work is properly cited.
This study evaluated a method for prompt and periodic monitoring of moisture content in the waste layer of a landfill using a Time Domain Reflectometry (TDR) sensor, aimed at ensuring the stable operation of the bioreactor facility at the 2nd landfill of the SUDOKWON Landfill Site. It was found that the TDR sensor is sensitive to variables such as temperature changes and ion content in both the waste layer and leachate, indicating that a correction equation is necessary. A correction equation derived through regression analysis demonstrated a high correlation (correlation coefficient = 0.9647), and field verification experiments confirmed its reliability with an average deviation of only 1.5%. This verifies that the TDR sensor is effective for measuring and monitoring moisture content in landfills. It is also anticipated to be useful for various applications, including monitoring leachate levels, detecting leachate leakage, and assessing rainwater infiltration.
Keywords: Bioreactor landfill, TDR sensors, Leachate recirculation, Waste sampling
우리나라의 매립지는 초기에 비위생 매립방식으로 운영되다가, 1990년대 초반부터 위생매립시설인 관리형 매립지로 전환되면서 차수시설, 우수배제시설, 침출수 집배수시설 및 처리시설 등을 갖추어 운영되기 시작하였다. 그러나 폐기물 매립과정에서 발생되는 악취와 매립가스에 의한 대기 오염 등의 문제(Kim et al., 2001; Kim et al., 2021)를 효율적으로 제어하기 위해, 일일 복토 및 중간 복토층을 강화하면서 매립지 내부로의 강수 침투는 점차 감소하게 되었다. 또한 2003년 하수슬러지 및 2005년 음식물류 폐기물의 직매립 금지 조치 이후로 매립지 내부 폐기물의 수분 유입이 차단되면서 폐기물의 건조화가 진행되게 되었다. 이러한 매립 폐기물 내 수분 유입의 차단은 폐기물의 혐기성 분해를 저해하고, 매립가스 발생량 감소와 함께 매립지의 사후 관리 기간을 증가시키는 결과를 초래하게 된다. 실제로 수도권매립지 통계연감에 따르면 반입폐기물 중 생활폐기물의 함수율은 2002년 36.1%에서 2016년 20.3%로 급감한 것으로 나타났고(SUDOKWON Landfill Statistics Yearbook, 2017), 매립가스 발생량도 점차 감소하게 되었다.
환경부는 이러한 매립지 내부 건조화로 인한 안정화 기간 장기화 및 매립지 사후관리비용 증가 등의 문제를 해결하기 위해 2016년 폐기물관리법 시행규칙을 개정하여 매립가스 발전․연료화 시설을 설치․운영하는 생활폐기물 매립지를 대상으로 매립지에서 발생되는 침출수를 매립지 내부로 재순환 할 수 있는 침출수매립시설 환원정화설비 설치 규정을 마련하였다. 또한 매립층에는 매립층 함수율을 상시 측정할 수 있는 장치를 매립시설의 면적을 고려하여 설치하여야 한다고 규정하고 있다. 이와 같이 침출수 재순환 등을 통해 매립층 내 수분을 공급하여 폐기물의 혐기성 분해 조건을 인위적으로 조절하고, 폐기물의 분해도 향상과 안정화 기간의 단축이 가능한 방식을 바이오리액터 공법이라고 한다(Lee et al., 1994; Yoon and Lee, 2005; Bae et al., 2010; Rhee et al., 2012).
연구 대상지인 수도권매립지 제2매립장은 관리형 매립지로, 50MW 발전시설을 포함한 매립가스를 활용한 에너지화 시설을 갖추고 있다. 또한, 폐기물 건조화, 매립가스 발생량 감소, 사후관리기간 장기화 등의 문제를 해결하기 위해 침출수매립시설 환원정화설비를 도입하여 2020년 7월부터 운영중에 있다. 이러한 침출수매립시설 환원정화설비의 안정적인 운영을 위해서는 매립지 내부의 함수율 관리가 매우 중요하다. 현재 많이 사용되는 함수율 변화 모니터링 방법으로는 굴착 시료 분석과 전기비저항탐사 방식 등이 있다. 그러나 이러한 방법들은 측정 시간과 비용의 문제로 인해 주기적인 측정과 신속한 결과 확인에 어려움이 있을 수 있다. 이에 함수율 모니터링에 있어서 보다 효율적이고 신속한 방법으로 TDR(Time Domain Reflectometry) 센서와 같은 현장에서 실시간으로 함수율을 측정이 가능한 장비를 활용한다면, 이러한 문제를 사전에 해결할 수 있는 대안으로 제시될 수 있을 것이며, 이를 통해 정확하고 빠르게 함수율 변화를 추적하고 효율적인 관리가 가능할 것이다.
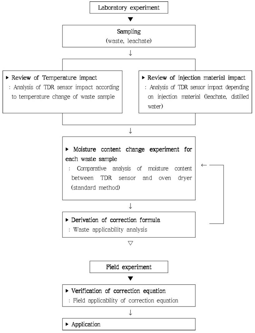
본 연구는 매립지 내부 수분 변화를 상시 측정 및 관리가 필요한 시설에 TDR 센서를 적용하여, 신속하고 정확한 모니터링이 가능한 시스템을 구축하는 것을 목표로 하였다. 특히, 침출수매립시설 환정화설비와 같이 매립지에서 발생하는 수분 변화를 실시간으로 추적하고 관리하는데 필요한 시설에 적용하고자 하였으며, TDR 센서에서 측정된 함수율이 적정한지를 판단하기 위한 실내시험을 수행하여 폐기물층에 적절한 보정식을 도출하였고, 실제 매립지 환경에 적용을 통해 TDR 센서의 매립지 현장 적용성을 평가하였다.
2.1 TDR 기술의 측정 원리
시간 영역 반사(Time Domain Reflectometry) 측정방법은 전기신호의 전도 특성을 이용하여 매질 내 설치된 탐침으로 전기신호의 반향 시간(reverberation time)을 측정하는 전기적인 측정 장치이다. 파형발생기에서 생성된 전자기파가 동축케이블과 매질에 관입된 탐침을 통하여 전파되는 동안 동축케이블과 탐침 주변 매질의 임피던스 변화에 따라 전자기파가 반향되는 특성을 이용하여 매질의 유전상수(dielectric constant)를 측정하는 것이 기본 원리이다(Kim et al., 2013). 이러한 원리를 이용하는 TDR 측정 방법은 케이블의 공간적인 위치 및 특성을 파악하여 대상 매질의 변형을 측정하거나 탐침을 통하여 측정한 매질의 유전상수와 체적함수비와의 관계를 이용하여 매질의 함수비를 평가하는 것으로 이용되어 왔다. 또한 일반적으로 전기비저항은 함수율, 공극률, 공극수의 전기전도도(electrical conductivity), 점토 함유량, 온도 등 여러 가지 물성들의 복합적인 요인으로 결정된다(Sakaguchi, 2007).
TDR 센서에서 측정되는 함수율은 다공성 매질 내 전자기파 이동시간과 유전상수(Ka) 사이의 관계에 기반한다. 전자기파 신호는 프로브의 끝부분에서 반사되어 계측기로 돌아오며, 계측기는 펄스를 보낸 시간부터 반사파를 수신하는 시간까지의 총 경과를 측정한다. 프로브의 길이(L)와 이동시간(t)을 알고 있다면, 전자기파의 전파속도(v)는 식 (1)로, 유전상수(Ka)는 (2)의 식으로 계산할 수 있다(Li and Li, 2011).

폐기물의 체적 수분 함량(θ)과 Ka간의 관계를 나타나는 다양한 경험적 상관관계가 개발되어 왔으며, 방향 변화를 허용하는 가장 일반적인 비선형 함수 유형은 n차 다항식으로 나타낼 수 있다. 가장 일반적인 식들은 (3), (4), (5)로 전파속도가 빠를수록 Ka가 감소하고, 함수율 또한 감소하게 된다(Li & Zeiss, 2001, Masbruch & Ferre, 2003).

2.2. 대상 매립지 개요
수도권매립지 제2매립장은 2000년 10월 폐기물반입을 시작으로 2018년 10월까지 운영된 시설로 부지면적 378만 m2, 매립면적 262만 m2의 부지에 총 8,018만 ton의 폐기물이 매립된 단일규모 최대 매립지이다. 해당 매립지는 총 24개의 매립 블록으로 구성되며, 각 매립 블록은 총 8단으로서 높이는 45 m이다. 또한 매립가스 포집을 위한 수직포집정 699개소와 50 MW 매립가스 발전시설이 설치되어 운영중에 있다.
해당 매립지는 매립지 내부에서 발생되는 침출수를 제2매립장 내부로 재순환시키기 위하여 침출수매립시설 환원정화설비를 도입하였으며, 침출수 재순환 설비는 매립 8단의 상부 폐기물을 굴착하고 Fig. 1b와 같이 1.85 m 깊이에 설치된 이중관 구조의 수평형 주입시설이다. 침출수 주입은 PE 75A관으로 침출수를 압송하여 PE 315A관을 통해 자연유하 방식으로 매립지 하부까지 주입된 침출수가 균등하게 분포되도록 하는 재순환 설비이다. 매립층 내부 함수율 관리는 목표 함수율을 40%로 계획하고, 매립 폐기물층의 함수율을 단계적으로 높여가며 운영 중에 있다.
1단계 시설은 재순환수 주입 용량 3,200 m2/일 규모로 제2매립장 내측 8개 블록(주입면적 751 천 m2)에 설치되어 2020년 7월부터 운영을 시작하였다. 그리고 2023년 12월에는 외각 16개 블록을 대상으로 2단계(시설용량 2,600 m2/일, 주입면적 695천 m2) 시설의 설치가 완료되면서, 현재는 제2매립장 전체에 침출수매립시설 환원정화설비가 운영 중이다. 또한 제2매립장 내부 수분 변화 모니터링을 위한 TDR 센서는 Fig. 1a와 같이 총 84개소에 설치되어 있으며, 설치 깊이는 Fig. 1c와 같이 재순환된 침출수의 확산 및 분포 영향을 고려해 1단계 시설은 4 m, 13 m 깊이에 총 52개가 설치되어 있고, 2단계 시설은 20 m, 30 m 깊이에 총 32개가 신규로 설치되었다.
2.3 실험 재료
폐기물 시료는 실제 TDR 센서가 설치되는 매립지의 상황과 유사하게 적용하기 위하여, 해당 매립지 3개 블록을 대상으로 깊이 20 m 내외에 매립된 폐기물을 직접 굴착하고, 원추사분법으로 폐기물을 혼합한 후 약 40 kg의 폐기물을 확보하여 실험에 사용하였다. 함수율 변화를 측정하기 위해 사용된 주입 물질은 매립지 내부에서 발생되는 침출원수(침출수)를 직접 채취하여 사용하였고, 함수율을 측정하기 위한 센서는 높은 주파수를 이용하고 주행시간과 탐침의 길이만으로 유전율을 결정하는 방식으로 토양의 전기전도도, 온도, 압밀 상태 등에 영향을 적게 받는다고 알려진(Blonquist et al., 2005) TDR 방식의 센서로 IMKO사에서 제작한 TRIME-PICO 64 모델을 사용하였다.
Table 1과 Fig. 2의 TRIME-PICO 64는 매질부에 접촉된 측정 프로브 하단부에서 온도를, 프로브에 설치된 탐침봉을 통해서 전기전도도와 반향 시간을 측정하는 기기로, 측정된 반향 시간은 보정식을 통해 함수율로 변환하여 표시하게 된다. 이때 보정식은 함수율을 측정하는 환경에 맞게 선택하여 사용하여야 한다.
2.4 실험 절차
TDR 센서에서 측정되는 함수율이 일반적인 토양 환경과 매립지 환경에서 동일하게 측정이 되는지 비교하기 위하여 Fig. 3과 같이 온도, 주입 물질, 함수율을 변화시켜가며 실내 실험을 수행하였다. 이렇게 도출된 결과를 토대로 TDR 센서를 매립지에 설치해 현장 적용성을 평가하였다.
2.5 실험 방법
2.5.1 온도변화에 따른 함수율 영향 검토
온도변화에 따라 TDR 센서에서 측정되는 함수율 및 반향 시간에 미치는 영향을 분석하기 위하여 Fig. 4와 같이 매립지에서 직접 굴착한 폐기물 시료를 아크릴 모형(D 20 cm×H 35 cm)에 넣고 TDR 수분 센서를 설치하였다. 이후 물로 채워진 배치에 아크릴 모형을 넣고, 전기 히터로 배치를 가열하여 간접적으로 폐기물 시료의 내부 온도를 17oC에서 46oC까지 높여가며 5분 간격으로 약 2시간 동안 측정하였다.
2.5.2 주입물질에 따른 함수율 비교
TDR 센서로 측정되는 함수율이 주입 물질에 의해 영향을 받는지 확인하기 위하여, 표준사를 동일 매질로 사용해서 증류수와 침출수를 각각 혼합하고 TDR 센서에 의해 측정되는 함수율을 비교하였다. 실험은 Fig. 5과 같이 실험 시작 전 표준사(7,200 g)를 준비하여 이를 5 L 크기의 아크릴 용기에 담았다. 이후 증류수와 침출수를 중량 기준으로 각각 500 g, 1,000 g을 계량하여 표준사와 혼합 후 TDR 센서를 설치하여 함수율을 측정하였다. 함수율 측정은 30분 간격으로 1시간 동안 측정하였다.
2.5.3 TDR 센서와 Oven dry 방법을 이용한 함수율 비교
침출수 혼합에 따른 폐기물의 함수율 변화를 측정하기 위해, 굴착 폐기물을 110oC 온도에서 12시간 동안 Oven dryer에 넣어 완전히 건조 시킨 후, Table 2와 같이 침출수를 중량 기준으로 혼합하여 각각의 시료를 제작하였다.
폐기물 시료는 목표 함수율을 0%부터 42.5%까지 설정하고 건조된 폐기물 시료에 침출수를 중량 기준으로 0.25% point(p)씩 증가 되도록 혼합하는 방법으로 제작하였다. 실험시 시료의 내부 온도는 30oC 내외에서 진행하였고, TDR 센서의 측정 오차를 최소화하기 위해 3회 평균값을 측정 결과로 사용하였다. 이렇게 제작된 폐기물 시료는 Fig. 6a, b와 같이 별도로 제작한 원통형 구조의 아크릴 모형에 넣고, 매립 폐기물의 설계 다짐 밀도 0.9 g/cm3(Lee & Lee, 2001)와 유사한 조건으로 다짐을 시행한 후 TDR 센서로 함수율과 반향 시간을 측정하였다. 이후 실험을 정확도를 높이기 위하여 목표 함수율에 따라 제작된 시료가 적정하게 혼합되었는지와 센서 탐침봉 인근의 실제 함수율 확인을 목적으로, 폐기물 시료에 설치한 TDR 센서를 제거하고 센서의 탐침봉 인근의 폐기물 시료를 Fig. 6c와 같이 채취하였다.
채취한 폐기물 시료는 폐기물 공정시험에 따라 Fig. 6d의 Oven dryer를 활용하여 110oC 온도에서 4시간 건조하여 함수율(Oven dry 함수율)을 별도로 측정하였고, 이를 통해 TDR 센서로 측정된 함수율과 Oven dry 함수율을 비교하였다.
|
Fig. 1 Horizontal injection facility and TDR sensor installation diagram |
|
Fig. 2 TRIME-PICO 64 TDR sensor |
|
Fig. 3 Experimental procedure |
|
Fig. 4 Measurement of moisture content by temperature change |
|
Fig. 5 Experiment of moisture content change by injected material. |
|
Fig. 6 Process of moisture content change experiment. |
|
Table 1 TDR Sensor(TRIME-PICO 64) data sheet |
∙ Range of moisture content : 0~100% |
|
Table 2 Preparation of experimental samples |
Note) Taget moisture content : weight based calculation formula |
3.1. 온도 변화에 따른 함수율 영향 검토
굴착한 폐기물 시료를 대상으로 별도 건조과정 및 외부 수분 주입이 없는 상태에서 TDR 센서를 설치한 후, 간접 가열 방식을 통해 온도를 17oC에서 46oC까지 높여가면서 함수율과 반향 시간을 측정한 결과는 Fig. 7과 같다.
17oC 온도에서 TDR 센서로 측정된 함수율은 30.4%, 반향 시간은 520 ps였으며, 온도를 46oC까지 높였을 때 함수율은 37.6%, 반향 시간은 582 ps로 측정되어 함수율 변화폭은 7.2%p, 반향 시간은 62 ps의 차이를 보였다. 온도 구간별로 살펴보면, 17oC에서 30oC 구간에서는 함수율 변화폭이 4.8%p, 반향 시간의 변화폭은 41 ps로 나타났으나, 30oC에서 46oC 구간에서는 함수율이 2.4%p, 반향 시간은 21 ps로 변화폭이 상대적으로 작았다. 특히, 30oC에서 40oC 구간에서는 함수율 변화폭은 0.4%p, 반향 시간 변화폭은 5 ps로 큰 변화가 없음을 확인할 수 있었다. 실험 결과, TDR 센서가 주변 온도에 의해 영향을 받는다는 것을 확인할 수 있었으며, 온도 변화가 크게 발생하는 환경에서는 온도의 영향을 고려한 검토가 필요할 것으로 판단된다.
다만, 매립지 내부 온도의 경우 지표에서부터 깊이 3 m 구간은 계절별(여름철, 겨울철) 외부 온도 변화에 따라 온도 변화 폭이 15.7oC~33.7oC로 크지만, 6~7 m 이하의 깊이에서는 연간 온도 변화가 없고(Sohn, 2011), 더 깊은 8 m 이하의 심도에서 내부 온도는 41.3oC~45.1oC(Sim et al., 2017) 범위로 조사되고 있다.
상기와 같이 매립지는 내부 깊이 3 m 이하의 심도에서는 계절별 온도 영향이 없이 일정한 온도를 유지하는 것을 알 수 있어, TDR 센서의 온도 변화 실험을 온도 조건 30oC~40oC 범위에서 수행하고, 현장 적용시 설치 위치를 매립지 내부 깊이 3 m 이하의 위치에 설치 하면, 온도의 영향은 미미할 것으로 예상된다.
3.2. 주입 물질에 따른 함수율 비교
표준사(7,200 g)와 주입 물질을 증류수, 침출수로 각각 혼합량의 변화를 주면서 TDR 센서로 측정한 온도, 전기전도도, 반향 시간(pico second, ps), 함수율 측정 결과를 아래 Table 3에 정리하였다.
증류수를 혼합한 시료(500 g, 1,000 g)에서 측정된 각각의 온도는 21oC, 20oC였으며, 전도도는 1.46 ds/m, 1.48 ds/m, 반향 시간은 429 ps, 483 ps, 함수율은 14.8%, 23.3%로 측정되었다. 반면 침출수를 혼합한 시료에서 측정된 각각의 온도는 21oC, 20.4oC로, 전도도는 4.68 ds/m, 4.85 ds/m, 반향 시간은 686 ps, 866 ps, 함수율은 31.0%, 46.9%로 측정되었다. 동일한 매질 조건에서 주입 물질을 달리하여 TDR 센서로 측정한 결과를 비교해 보면, 침출수를 혼합한 시료의 전기전도도, 반향 시간, 함수율 측정값은 증류수를 혼합한 시료보다 현저히 높게 측정되었다. 이는 Table 4에서 분석된 침출수 성분 중 Cl-, Na+, K+ 이온 성분이 함수율 측정(유전율)에 영향(Seo & Cho, 1998)을 주는 것으로 판단된다.
이 실험 결과로 토양층에서 사용되는 TDR 센서를 보정 작업 없이 사용할 경우, 이온성 물질이 포함된 환경에서는 함수율 측정값이 왜곡될 수 있음을 알 수 있었다. 특히 침출수와 같이 이온성 물질이 다량 포함된 환경에서 TDR 센서를 사용할 경우, 이온성 물질의 영향을 고려한 검토가 필요하여 본 연구는 해당 매립지의 폐기물 시료와 침출수를 함수율 변화 실험에 직접 사용하여, 이온성 물질 주입과 함수율 변화에 의해 TDR 센서에서 측정되는 반향 시간 결과값을 보정식 도출에 활용하였다.
또한, 표준사와 증류수를 중량 기준으로 500 g 혼합 시 이론식에 의한 함수율은 6.9%, 1,000 g 혼합 시의 함수율은 13.9%였으나, 실제 TDR 센서로 측정된 함수율은 이보다 높게 나타난 요인은, 매질로 사용된 사질토 특성상 수분 보유 능력이 낮아, 주입된 물질이 시간 경과에 따라 아크릴 용기 하부로 이동하면서 센서 하단의 탐침부(L=14 cm)에 직접적인 영향을 주어 함수율이 이론식 보다 높게 측정된 것으로 추정된다.
3.3. TDR 센서와 Oven dry 방법을 이용한 함수율 비교
굴착 폐기물을 완전히 건조하고, 침출수를 중량 기준으로 혼합한 시료로 반향 시간에 따라 TDR 센서로 측정된 함수율과 Oven dry 함수율을 비교한 결과는 Fig. 8과 같다.
함수율에 따라 TDR 센서에서 측정된 반향 시간은 93 ps에서 751 ps로 나타났으며, 이때 측정된 함수율은 0%에서 76.76% 범위로 나타났다. 반면, Oven dry 방법으로 분석한 함수율은 0.5%에서 43.4% 범위로 측정되었다. 구간별로 함수율을 살펴보면, 함수율 0%에서 25% 범위에서는 TDR 센서와 Oven dry 함수율 간의 차이가 평균 1.6%p, 최대 6.3%p로 나타냈고, 30%에서 40% 함수율 범위에서는 평균 21.0%p, 최대 38.9%p로 큰 차이를 나타내어, 함수율이 높아질수록 TDR 센서와 Oven dry 함수율 간의 오차가 커지는 경향을 보였다. 이 결과로 폐기물층에 TDR 센서를 적용할 경우, 함수율이 높아질수록 Oven dry 함수율과 큰 차이를 나타내어, 측정 결과의 신뢰성 확보를 위해서는 폐기물층 매질에 적합한 보정 작업이 필요할 것으로 판단된다.
또한, 폐기물층과 같은 이온 물질이 다량 함유된 매질에서 TDR 센서로 측정된 함수율의 신뢰도를 높이기 위해, 적절한 보정 작업과 폐기물층 매질의 특성에 맞는 보정식 도출이 필요하다는 것을 다시 한번 확인할 수 있었다.
3.4 보정식 도출 및 검증
폐기물 시료에 TDR 센서를 설치하고 반향 시간과 함수율을 측정한 결과와 Oven dry 방법을 사용하여 함수율을 측정한 결과를 바탕으로 TDR 센서와 Oven dry 함수율 간의 관계를 분석하여 Fig. 9와 같이 보정식을 도출하였다. 보정식 도출에는 선형 회귀분석 방법을 활용하여 종속 변수와 독립 변수 간의 선형 관계를 설정하는 회귀식을 사용하였다. 회귀분석을 통해 얻은 보정식(y=0.0639x-7.3748)은 TDR 센서의 반향 시간 x와 Oven dry 함수율 y간의 선형 관계를 나타내며, 상관계수는 0.9647로 높은 신뢰도를 보였다. 이 보정식으로 TDR 센서에서 측정한 반향 시간을 통해 폐기물의 함수율 예측이 가능하다.
실내 실험을 통해 도출된 보정식의 신뢰도 검증 및 현장 적용성을 평가하기 위해, 해당 매립지에 10일 동안 20 m, 30 m 깊이로 TDR 센서를 설치하고 현장 실험을 진행하였다. 실험 중에는 침출수 주입이나 강수 등 외부 수분이 매립지 내부로 유입되지 않는 상태로 유지하였다. 또한 TDR 센서 설치 과정에서 센서가 설치되는 위치의 굴착 폐기물은 직접 채취하여 Oven dry 함수율을 별도로 측정하여 보정식을 통해 계산된 함수율과 비교하였다.
Table 5는 실내 실험에서 도출된 보정식을 적용한 TDR 센서의 함수율과 Oven day 함수율을 비교한 결과이다. 20 m 깊이에서 채취한 시료의 Oven dry 함수율은 18.7%였으며, TDR 센서로 측정된 반향 시간은 평균 442 ps였다. 이 반향 시간을 통해 보정식을 적용한 함수율은 평균 21.0%로 계산되어, Oven dry 함수율과 2.3%p의 차이를 보였다. 30 m 깊이에서 채취한 시료의 경우 Oven dry 함수율은 33.4%였고, TDR 센서로 측정된 반향 시간은 평균 631 ps였다. 보정식을 적용한 함수율은 평균 32.7%로 계산되어, Oven dry 함수율과 0.7%p의 차이를 보였다. 또한, 현장 실험 과정중 폐기물층 내부 온도는 온도 변화에 따른 함수율 영향 실험 시 비교적 신뢰도가 높은 온도 구간과 유사한 조건으로, 20 m 구간은 평균 온도는 36.1oC로, 30 m 구간의 경우 평균 온도는 37.9oC로 현장 실험 과정 중 온도는 큰 변화 없이 일정하게 유지되었다.
실내 실험을 통해 도출된 TDR 센서의 보정식이 실제 매립지에서 적용 가능성을 평가한 결과, 상기 보정식은 폐기물층에서 TDR 센서의 정확도를 높이는 데 효과적임을 확인할 수 있었다. 또한 침출수매립시설 환원정화설비와 같이 매립지 환경에서 수분 변화를 주기적으로 모니터링하고 관리해야 하는 시설에서 본 연구와 같은 실험 과정을 통해 도출된 보정식을 TDR 센서를 적용한다면, 더욱 신뢰성 있는 데이터를 얻을 수 있을 것으로 판단된다.
|
Fig. 7 Measurement of moisture content and reverberation time by temperatures. |
|
Fig. 8 Result of experiment of change in moisture content measured by oven dry and TDR sensor. |
|
Fig. 9 Regression analysis results chart according to reverberation time |
|
Table 3 Result of moisture content comparison test by injected material |
Note) Expected moisture content : weight based calculation formula |
수도권매립지 제2매립장에 설치된 침출수매립시설 환원정화설비의 안정적 운영을 위해, 폐기물 내부 함수율 변화를 신속하고 지속적으로 모니터링할 수 있는 TDR 센서의 매립지 적용성을 평가하였다. 이를 위해 TDR 센서의 온도 영향 검토, 침출수 내 이온 성분 분석 및 영향 검토, TDR 센서와 Oven dry 방법을 이용한 함수율 비교, 폐기물층 대상으로 TDR 센서 적용 시 적정 보정식 도출과 현장 검증 실험을 실시하였고, 다음과 같은 결과를 얻을 수 있었다.
1) 온도 영향 분석
온도 변화에 따른 TDR 센서의 측정 결과, 17oC에서의 함수율은 30.4% 반향 시간은 520 ps였으며, 46oC에서는 함수율이 37.6%, 반향 시간은 582 ps로 나타났다. 특히, 17oC에서 30oC 구간에서 함수율은 약 5%p, 반향 시간은 41 ps의 변화폭을 보였고, 30oC에서 46oC 구간에서는 함수율은 약 2%p, 반향 시간은 21ps의 변화폭을 나타내었다. 실험 결과를 통해 상대적으로 온도가 높은 구간 보다는 낮은 온도 구간에서 영향이 큰 것을 알 수 있었으며, 온도 변화가 크게 발생하는 환경에서는 온도의 영향을 고려한 검토가 필요할 것으로 판단된다.
2) 주입물질 영향 분석
동일한 매질 조건에서 주입 물질을 달리하여 TDR 센서로 측정한 결과, 침출수를 혼합한 시료에서 전기전도도, 반향 시간, 함수율 측정값이 증류수를 혼합한 시료보다 현저히 높게 측정되어, 침출수 내 Cl⁻, Na⁺, K⁺ 등 전기전도도에 영향을 주는 이온 물질이 다량 함유된 폐기물 매립지에 TDR 센서를 적용하려면, 이러한 이온성 물질을 고려한 검토가 필요함을 알 수 있었다.
3) TDR 센서와 Oven dry 함수율 비교 분석
TDR 센서로 측정된 함수율과 Oven dry 함수율을 비교한 결과, 함수율이 0%에서 25% 범위 내에서는 평균 1.6%p, 최대 6.3%p로 차이를 보였고, 함수율이 30% 이상인 시료에서는 평균 21.0%p, 최대 38.9%p로 상대적으로 큰 차이를 보여, 함수율이 높은 폐기물층에서 TDR 센서를 적용할 경우 적절한 보정식이 필요함을 확인할 수 있었다.
4) 보정식 도출 및 검증
회귀분석을 통해 도출된 보정식의 상관계수는 0.9679로 높은 신뢰도를 보였으며, 현장 실험을 통해 보정식을 검증한 결과, 20m 구간은 0.7%p, 30m 구간은 2.3%p로 평균 1.5%p 수준의 오차 범위를 나타내어 매립지 내부 수분 변화를 상시 측정 및 관리가 필요한 시설에 TDR 센서의 적용이 가능함을 확인할 수 있었다. 또한 TDR 센서를 폐기물층에 적용할 경우, 본 실험과 같은 보정식 도출 과정을 통해 해당 매립지에 적절한 보정식을 도출하여 사용한다면 신뢰도 높은 내부 수분 변화를 주기적으로 측정과 실시간으로 모니터링이 가능할 것으로 판단된다.
연구 결과를 통해 매립지 내 수분 측정 및 모니터링을 위한 방법의 하나로 TDR 센서를 활용할 수 있음을 확인하였다. 향후 침출수 수위 측정, 침출수 누출 감지, 최종 복토 후 우수 침투 모니터링 등의 연구에도 TDR 센서를 활용할 수 있을 것으로 기대되며, 이를 통해 매립지 운영의 효율성을 높이고 환경 관리의 수준을 향상시키는데 기여가 가능할 것으로 판단된다.
This Article2024; 29(4): 1-11
Published on Aug 30, 2024
Services
Correspondence toDepartment of Chemical and Biomolecularl Engineering, Seoul National University of Science & Technology, Seoul 01811, Korea